Exchange the CEC enclosure system processor module

Before you begin

CAUTION:
This assembly contains mechanical moving parts. Use care when you service this assembly. (C025)

Icon for electrostatic discharge wrist strapUse approved ESD procedures to prevent damage.

Attention:
  • This procedure is not a stand-alone procedure. Customer disruption and damage to the hardware might occur when microcode and power boundaries are not in the proper conditions for this service action.
  • If a serviceable event FRU repair directed you to this procedure, the microcode and power boundaries are already set.
  • If a serviceable event FRU repair did not direct you to this procedure, see MAP1230 Replace a FRU without using a serviceable event.
Notes:
  • All the cables and FRUs to be removed must be uniquely identified so they can be reinstalled correctly.
  • If an installed earthquake resistance kit prevents you from accessing this FRU, refer to MAP1600.

Preparing the CEC enclosure to remove and replace the system processor module

Procedure

  1. Use a replacement part with a valid DS8000® part number to ensure it has the proper firmware, VPD, or configuration to ensure it is compatible with the DS8000 service procedures. Attempting to use a generic server FRU might fail and require next level of support to recover.
  2. All parts being removed must be marked or identified so they can be installed into their original locations.
    Note: Failure to do this can extend the service duration and may require next level of support assistance.
  3. The management console keyboard can be moved between the operating and stowed position as needed to allow service clearance above the CEC enclosure.
  4. Use the front and rear blue identify LEDs to determine the CEC enclosure to be repaired. Both blue LEDs should be lit.
    • CEC control panel blue identify LED Callout label B as shown in Figure 1.
    • CEC enclosure rear blue identify LED Callout label 1 as shown in Figure 2.
    Note: If both the front and rear CEC enclosure identify LEDs are not lit, use the location code listed in the serviceable event FRU list. See MAP1245 Finding FRUs by using location codes.
    Figure 1. Control panel LEDs
    Control panel LEDs
    Figure 2. CEC enclosure rear LEDs
    Service indicator LEDs
  5. Verify that the CEC enclosure is in the power-off state. See Figure 3
    1. At the rear of the CEC enclosure, view all CEC enclosure power supply DC LEDs.
    2. Are all DC (output) LEDs flashing?
    Figure 3. Location of the power supplies and LEDs (Model 982)
    Location of the power supplies and LEDs (Model 982)
  6. Attach the electrostatic discharge (ESD) wrist strap.
    Attention:
    • Attach an electrostatic discharge (ESD) wrist strap to an unpainted metal surface of your hardware to prevent the electrostatic discharge from damaging your hardware.
    • When using an ESD wrist strap, follow all electrical safety procedures. An ESD wrist strap is used for static control. It does not increase or decrease your risk of receiving electric shock when using or working on electrical equipment.
    • If you do not have an ESD wrist strap, just before removing the product from ESD packaging and installing or replacing hardware, touch an unpainted metal surface of the system for a minimum of 5 seconds.
  7. Disconnect the power cords Callout label B from the CEC with the DC (output) LEDs flashing. See Figure 4.
    Notes:
    • Ensure the power cords are correctly labeled.
    • The power supply LEDs might continue to flash for up to 20 seconds while internal power is discharged.
    • The power cord is fastened to the system using the hook-and-loop fastener Callout label A. Unstrap the fastener to allow the enclosure to be placed in the service position.
    Figure 4. Removing the power cords (Models 982, 988)
    Removing the power cords (Model 982)
  8. Observe the CEC enclosure control panel green power button LED Callout label A. See Figure 5.
    • If it is off, go to the next step.
    • If it is flashing, the CEC enclosure is still in the power-off state. DO NOT CONTINUE. Ensure that you have unplugged the power cables.
    Figure 5. Control panel LEDs
    Control panel LEDs
  9. Disconnect all remaining cables from the rear of the CEC enclosure. See Table 1 and Figure 6.
    Table 1. CEC enclosure cable connections
    Connection Description
    P1-C2-T1, P1-C2-T2 PCIe to I/O enclosures (if C2 present)
    P1-C3-T1, P1-C3-T2 PCIe to I/O enclosures (if C3 present)
    P1-C5-T4 (HMC port 1) FSP Ethernet
    P1-C5-T5 (HMC port 2) FSP Ethernet
    P1-C6-T1, P1-C6-T2 i2c to RPCs
    P1-C7-T1, P1-C7-T2 RS485 to RPCs
    P1-C8-T1, P1-C8-T2 PCIe to I/O enclosures
    P1-C10-T1, P1-C10-T2 PCIe to I/O enclosures
    P1-C11-T1, P1-C11-T2 LPAR Ethernet
    P1-C11-T3, P1-C11-T4 Customer network (optional feature, if used)
    P1-C12-T1, P1-C12-T2
    P1-C12-T3, P1-C12-T4
    Customer network (optional feature, if used)
    Figure 6. CEC enclosure location codes (rear view) (Model 982)
    CEC enclosure location codes (rear view) (Model 982)
  10. Remove the front cover.
    CAUTION:
    A hot surface nearby.
    1. Ensure that you have the electrostatic discharge (ESD) wrist strap attached. If not, attach it now.
    2. Place your fingers on the indentations and pull the latches Callout label B located on both sides of the cover.
    3. Pull the cover Callout label A away from the system.
    Figure 7. Removing the front cover
    Removing the front cover
  11. Place the CEC enclosure into the service position.
    Note:
    • When placing the enclosure into the service position, ensure that all stability plates are firmly in position to prevent the rack from toppling.
    • Ensure that only one enclosure is in the service position at a time.
    • Ensure that the cables at the rear of the system unit do not catch or bind as you pull the system unit forward in the rack.
    • When the rails are fully extended, the rail safety latches lock into place. This action prevents the system from being pulled out too far.
    1. Remove the shipping screws, if they are not removed already.
    2. Release the side latches Callout label A by pressing them downward and then outward as shown in Figure 8.
    3. Slide out the system unit Callout label B from the rack.
    Figure 8. Placing the enclosure in service position
    Placing the enclosure in service position
  12. Remove the service access cover.
    1. Ensure that you have the electrostatic discharge (ESD) wrist strap attached. If not, attach it now.
    2. Push the release latches Callout label A in the direction shown.
    3. Slide the cover Callout label B off the system unit. When the front of the service access cover has cleared the upper frame ledge, lift the cover up and off the system unit.
    Figure 9. Removing the service access cover
    Removing the service access cover
  13. Remove the safety cover.
    1. Ensure that you have the electrostatic discharge (ESD) wrist strap attached. If not, attach it now.
    2. Loosen the thumbscrew Callout label A located at the rear of the cover, by turning it in the direction shown in Figure 10.
    3. Slide the safety cover Callout label B toward the rear of the system. When the front of the cover has cleared the upper frame ledge, lift the cover up and off the system.
    Figure 10. Removing the safety cover
    Removing the safety cover

Removing the CEC enclosure system processor module

About this task

To remove the CEC enclosure system processor module, complete the following steps:

Procedure

  1. Ensure that you have the electrostatic discharge (ESD) wrist strap attached. If not, attach it now.
  2. Use the location code from the serviceable event to identify the processor module to be replaced (P2-C2, P2-C3, P2-C6 or P2-C7). See Figure 11.
    Figure 11. CEC enclosure location codes (top view) (Models 982, 988)
    CEC enclosure location codes (top view) (Model 982)
  3. Put on a pair of supplied Nitrile gloves. You must wear Nitrile gloves (part number 00RY410) when you handle the replacement system processor module, thermal interface material (TIM), and the replacement heat sink.
  4. Open the packaging of the new system processor module and place the cover upside down next to the tray, as shown in Figure 12. The cover is used for the system processor module that you are replacing.
    Figure 12. Opening the system processor module packaging
    Opening the system processor module packaging
  5. Loosen the load arm screw Callout label A of the system processor heat sink Callout label B that you are removing with the supplied T-handle T20 Torx driver (part number 00LR425). The load arm pivots up in the direction that is shown in Figure 13.
    Figure 13. Loosening the load arm screw of the heat sink
    Loosening the load arm screw of the heat sink
  6. Grip the heat sink and remove it by lifting straight up as shown in Figure 14.
    Figure 14. Removing the heat sink
    Removing the heat sink
  7. Place the heat sink upside down on a clean surface.
  8. Remove dust and debris from the system processor module area.
    Note: If dust or debris is present, use the supplied air pump (part number 45D2645) to clean the system processor module area. Blow small bursts of air from the center toward the sides of the system processor module as shown in Figure 15.
    Figure 15. Cleaning the system processor module area
    Cleaning the system processor module area
  9. Lower the supplied removal tool onto the system processor module. The beveled corner Callout label A of the tool must align with the beveled corner of the system processor module. Align the tabs Callout label B of the tool with the pins Callout label C of the processor socket. See Figure 16.
    Figure 16. Lowering the removal tool onto the system processor module
    Lowering the removal tool onto the system processor module
  10. Push down on the removal tool at location Callout label A to lock the system processor module into the tool, as shown in Figure 17. Make sure that both of the tool jaws are locked on the system processor module. Do not press the blue release tabs until directed to do so later.
    Note: The tool drops slightly when you push down so that the jaws can grab the bottom of the system processor module.
    Figure 17. Locking the replacement system processor module in the removal tool
    Locking the replacement system processor module in the removal tool
  11. Holding the outside of the tool, lift the tool and system processor module from the socket. Place them at an angle in the top cover of the system processor module packaging that was opened in step 4, as shown in Figure 18.
    Note: Setting the tool and system processor module at an angle on the top cover of the packaging makes it easier to pick up and place in the packaging.
    Figure 18. Placing the system processor module on the top cover of the packaging
    Placing the system processor module on the top cover of the packaging
  12. Squeeze the two blue tabs to release the system processor module from the tool as shown in Figure 19.
    Note: To prevent the system processor module from falling, do not squeeze the two tabs before you place the tool on the top cover of the system processor module packaging.
    Figure 19. Releasing the system processor module from the tool
    Releasing the system processor module from the tool

Replacing the CEC enclosure system processor module

About this task

To replace the CEC enclosure system processor module, complete the following steps:

Procedure

  1. Ensure that you have the electrostatic discharge (ESD) wrist strap attached. If not, attach it now.
  2. Ensure that you are wearing a pair of supplied Nitrile gloves. You must wear Nitrile gloves (part number 00RY410) when you handle the replacement system processor module, thermal interface material (TIM), and replacement heat sink.
  3. Lower the supplied removal tool onto the system processor module in the shipping tray. The beveled corner Callout label A of the tool must align with the triangle-shaped hole on the shipping tray. Align the holes Callout label B of the tool with the pins Callout label C on the tray. See Figure 20.
    Figure 20. Lowering the removal tool onto the system processor module
    Lowering the removal tool onto the system processor module
  4. Push down on the tool at the locations that are indicated by the arrows to lock the system processor module into the removal tool. See Figure 21. Do not press the blue release tabs until directed to do so later.
    Note: The tool drops slightly when you push down so that the jaws can grab the bottom of the system processor module.
    Figure 21. Locking the replacement system processor module in the removal tool
    Locking the replacement system processor module in the removal tool
  5. Grasp the sides of the tool and system processor module and carefully lift it slightly out of the system processor module tray. Then, turn it over so that the system processor module side is up. Ensure that both tool jaws Callout label A are firmly grabbing the system processor module, as shown in Figure 22.
    Note: If both jaws are not firmly grabbing the system processor module, press down on the corner of the system processor module closest to the jaw until it locks into place. Do not touch any part of the system processor module other than the corners.
    Figure 22. Making sure that the system processor module is securely locked in tool
    Making sure that the system processor module is securely locked in tool
  6. If dust or debris is present on the system processor socket, use the supplied air pump (part number 45D2645) to clean the socket. Blow small bursts of air from the center toward the sides of the socket.
    Figure 23. Removing dust and debris from the system processor socket
    Removing dust and debris from the system processor socket
  7. Lower the tool and system processor module onto the socket. Ensure that the two guide pins are inserted into the alignment holes on each side of the tool, as shown in Figure 24.
    Note: Do not attempt to slide the tool and the system processor module in any direction while the system processor module is touching the socket. If the tool and the system processor module are not aligned with the guide pins, lift the tool and the system processor module and reposition them.
    Figure 24. Lowering the system processor module onto the socket
    Lowering the system processor module onto the socket
  8. After the system processor module is properly aligned, squeeze and hold the two blue release tabs Callout label A together until a firm stop is reached, as shown in Figure 25. Then, lift the tool off the system processor module.
    Figure 25. Removing the system processor module tool
    Removing the system processor module tool
  9. Install the new supplied thermal interface material (TIM) that is provided in the FRU kit (part number 00LR426) onto the processor module.
    1. Open the TIM packaging and carefully remove the TIM, holding it by the edges of the carrier strip and holding it away from the shipping container.
    2. Remove the protective film from the clear carrier strip by using the supplied tweezers (part number 15R8943).
      Note: The TIM must remain flat. Small wrinkles are acceptable, but folds are not acceptable.
    3. Align one of the two 45-degree chamfers of the TIM with the processor module chamfer Callout label A as shown in Figure 26.
      Note: The red stripe on the TIM must be facing up.
    4. Center the TIM onto the processor module.
    Figure 26. Replacing the thermal interface material
    Replacing the thermal interface material
  10. Clean the new heat sink bottom surface with the lint-free cloth that is supplied in the glove kit.
  11. Install the new supplied heat sink that is provided in the FRU kit (part number 00LR426). Carefully lower the heat sink over the system processor module, ensuring that the holes in the heat sink Callout label A align with the two guide pins Callout label B on the socket, as shown in Figure 27.
    Figure 27. Replacing the heat sink
    Replacing the heat sink
  12. Move the load arm Callout label A into position over the heat sink Callout label B and tighten the load arm screw with the supplied T-handle T20 Torx driver (part number 00LR425), as shown in Figure 28.
    Note: Do not overtighten the load arm screw.
    Figure 28. Tightening the load arm screw
    Tightening the load arm screw
  13. Lightly grip the system processor module that you replaced by the edges and lift it off the shipping cover. Align the beveled corner of the module Callout label A to the corner of the tray with the triangle Callout label B and place it in the tray, as shown in Figure 29.
    Figure 29. Placing the system processor module into the shipping tray
    Placing the system processor module into the shipping tray

Preparing the CEC enclosure for operation after removing and replacing the system processor module

About this task

To prepare the system for operation, complete the following steps:

Procedure

  1. Ensure that you have the electrostatic discharge (ESD) wrist strap attached. If not, attach it now.
  2. Replace the safety cover.
    1. Push the safety cover Callout label A toward the chassis.
    2. Tighten the thumbscrew Callout label B by turning it in the direction shown in Figure 30 to fix the safety cover to the chassis.
    Figure 30. Replacing the safety cover
    Replacing the safety cover
  3. Replace the service access cover.
    1. Slide the cover Callout label A onto the system unit.
    2. Close the release latches Callout label B by pushing them in the direction shown.
    Figure 31. Installing the service access cover
    Installing the service access cover
  4. Place the CEC enclosure into the operating position.
    CAUTION:

    Pinch hazard.

    1. Ensure that you have the electrostatic discharge (ESD) wrist strap attached. If not, attach it now.
    2. Unlock the blue rail safety latches Callout label A by lifting them upward.
    3. Push the system unit Callout label B back into the rack until both system unit release latches lock into position.
      Note: Slide the system unit slowly into the rack to ensure that your fingers do not get caught in the side rails.
    4. Secure the enclosure to the rack with screws, if screws were removed when preparing the enclosure for service.
    Figure 32. Placing the CEC enclosure into the operating position
    Placing the CEC enclosure into the operating position
  5. Replace the front cover.
    1. Ensure that you have the electrostatic discharge (ESD) wrist strap attached. If not, attach it now.
    2. Position the cover Callout label A on the front of the system unit so that the four pins Callout label B on the system match the four holes at the rear of the cover.
    3. Press the tabs Callout label C to snap the cover into position.
    Figure 33. Installing the front cover
    Installing the front cover
  6. Attach the electrostatic discharge (ESD) wrist strap.
  7. Reconnect all cables, except for power cords. See Table 2 and Figure 34.
    If optical Ethernet connections are used, use proper cleaning procedures.
    Important: The optical cable plugs (LC connectors) and ports (SFPs) must be cleaned before connecting them. Use cleaning tool 54Y4392 or IBM-approved alternative. After cleaning SFPs with the tool, use air bulb 45D2645 or IBM-approved alternative. For detailed procedures, refer to current DS8000 Info Alerts or contact your next level of support.
    Table 2. CEC enclosure cable connections
    Connection Description
    P1-C2-T1, P1-C2-T2 PCIe to I/O enclosures (if C2 present)
    P1-C3-T1, P1-C3-T2 PCIe to I/O enclosures (if C3 present)
    P1-C5-T4 (HMC port 1) FSP Ethernet
    P1-C5-T5 (HMC port 2) FSP Ethernet
    P1-C6-T1, P1-C6-T2 i2c to RPCs
    P1-C7-T1, P1-C7-T2 RS485 to RPCs
    P1-C8-T1, P1-C8-T2 PCIe to I/O enclosures
    P1-C10-T1, P1-C10-T2 PCIe to I/O enclosures
    P1-C11-T1, P1-C11-T2 LPAR Ethernet
    P1-C11-T3, P1-C11-T4 Customer network (optional feature, if used)
    P1-C12-T1, P1-C12-T2
    P1-C12-T3, P1-C12-T4
    Customer network (optional feature, if used)
    Figure 34. CEC enclosure location codes (rear view) (Models 982, 988)
    CEC enclosure location codes (rear view) (Model 982)
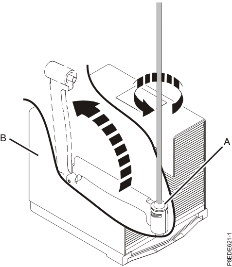
  8. Reconnect the power cords Callout label A to the CEC enclosure. See Figure 35.
  9. Fasten the power cords to the enclosure using the hook-and-loop fasteners Callout label B.
    Figure 35. Connecting the power cords
    Connecting the power cords
  10. Verify that the CEC enclosure has power available. See Figure 36.
    1. At the rear of the CEC enclosure, view the CEC enclosure power supply DC LEDs.
    2. Are all DC (output) LEDs flashing?
      • Yes, continue with the next step.
      • No, ensure the power cords are properly connected. If no connection problem is found, contact your next level of support.
    Figure 36. Location of the power supplies and LEDs (Model 982, 988)
    Location of the power supplies and LEDs (Model 982)
  11. Wait up to 5 minutes for the CEC enclosure control panel power-button LED Callout label A to flash. See Figure 37.
    Note: This ensures the CEC enclosure is in the power-off state.

    Is the power-button LED flashing?

    • Yes, go to the next step.
    • No, ensure the CEC enclosure power supplies are fully seated. The possible failing FRUs are the CEC enclosure system backplane, I2C interface card and cables, and control panel. You can also call the next level of support.
    Figure 37. Control panel LEDs
    Control panel LEDs
  12. Close the rear door of the rack.
  13. Exit this service information center parts exchange procedure and return to the procedure that sent you here.